


技術參數:
|
額定荷載 |
10, 15, 20, 30, 40, 50, 60T |
工作溫度 |
-30℃~+70℃ |
|
精度等級 |
C3 |
安全負載 |
150% F.S |
|
重復性 |
±0.01% F.S |
推薦激勵電壓 |
9~12V DC (20V max) |
|
蠕變(30分鐘) |
±0.02% F.S |
絕緣電阻 |
1000MΩ |
|
零點溫度影響 |
±0.015% F.S/10℃ |
材質 |
合金鋼/不銹鋼 |
|
靈敏度溫度影響 |
±0.015% F.S/10℃ |
通訊方式 |
RS 485 |
|
數據刷新頻率 |
10HZ |
最大信號傳輸距離 |
1200m |
|
通訊波特率 |
9600 BPS (19200 BPS) |
密度等級 |
IP68 |
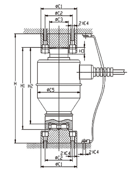
尺寸圖:
